Rachana Kallada Jayaraj profile picture

Hello, I'm

Rachana Kallada Jayaraj

Fullstack Developer

Cloud Developer

My LinkedIn profile My Github profile

Get To Know More

About Me

Profile picture

Hi there! 👋 I'm a software engineer with 5+ years of experience building innovative solutions in cloud and tech. With a Bachelor's and Master’s in Computer Science, I’m passionate about learning, growing, and staying ahead of the curve in this ever-evolving field. Let’s create something awesome together! 🚀✨

Experience icon

Experience

5+ years


  • Software Engineer - Mercari US
  • Cloud Developer II - Hewlett Packard Enterprise
  • Systems Engineer - Tata Consultancy Services
Education icon

Education

  • Master's in Computer Science - Northeastern University
  • Bachelor's in Computer Science - Dr. Ambedkar Institute of Technology
Arrow icon

Explore My

Experience

Backend Development

Frontend Development

Cloud Development

Databases & Storage

DevOps & Streaming

Monitoring & Alerting

Arrow icon

Here Are My Recent

Projects

Lyric Shuffle

Lyric Shuffle

Developed an Android-based game app where users unscramble lyrics from popular songs across various difficulty levels and genres.Integrated a "shake to scramble" feature using motion sensors and utilized PostgreSQL and Firebase for database management.

Fake Stack Overflow

Fake Stack Overflow

Built a Stack Overflow Clone using React and Material UI, replicating core functionalities like question posting, answering, and voting. Implemented a dynamic tagging system, a comprehensive search feature, and a clean, responsive UI using Material UI components. The project delivers a user-friendly platform for knowledge sharing and technical discussions.

SMS Offer Notifications for Buyers & Sellers

SMS Offer Notifications for Buyers & Sellers

Implemented an SMS toggle feature in Mercari's settings to allow users to opt in for offer notifications via SMS. Developed a robust delivery system using PHP and Go, ensuring seamless SMS delivery through Braze with Twilio as a fallback during outages for uninterrupted service.

Serverless File System

Serverless File System

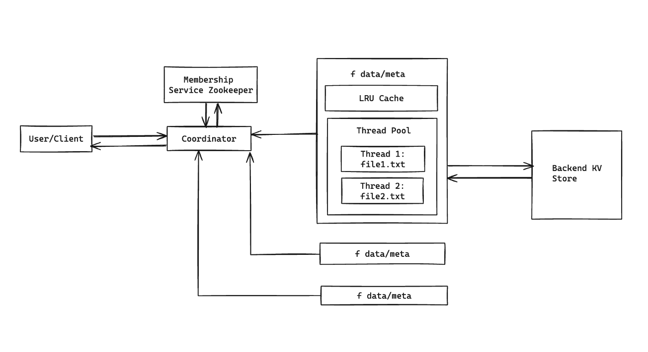
Enhanced the Serverless File System (SLFS), a distributed file system leveraging serverless computing for elastic scalability and cost-effectiveness. Automated SLFS failure recovery by integrating Zookeeper for health tracking and failover, and conducting extensive testing with five coordinators.

Smart City Management System

Smart City Management System

User-friendly Flask-based web app with SQL Server, enabling city administrators and citizens to manage smart city components such as surveillance cameras, sensors, WiFi zones, and smart signals.

Load Balancer Manager

Load Balancer Manager

Developed a cutting-edge application on the HPE GreenLake cloud, enabling external customers to access and manage Kubernetes clusters. Features dynamic Nginx load balancer deployment with enhanced security.

Containers as a Service on BareMetal

Containers as a Service on BareMetal

Engineered Go code to create, delete, and scale BareMetal clusters. Includes a controller that continually polls cluster status and reports updates via a user-friendly GUI.

Human Intruder Detection System

Human Intruder Detection System

Designed a security solution using Raspberry Pi, motion detectors, and video cameras to automatically identify unauthorized human presence and alert authorities.

Get in Touch

Contact Me